 sales@toolsbrother.com
 +86-13429626426 
 whatsapp/line/wechat:+8613429626426
You are here: Home » Products » Spray Can Gun » holder for aerosol spray can
caulking-gun2
caulking-gun
paint-mixer
foam-gun

Builders Choice Tools Limited

We sincerely look forward to establishing long-term, reliable and mutually beneficial business partnerships with all customers from at home and abroad.
More >>

loading

Share to:
sharethis sharing button

holder for aerosol spray can

Product name: holder for aerosol spray can
Application: aerosol DISPENSING CANS
Opp Bag: Opp Bag
Material: Plastic
Quality Control: Individually Tested
  • BC-GT0353

  • TOOLSBUDDY

  • BC-GT0353

Availability:
Quantity:

Product Description

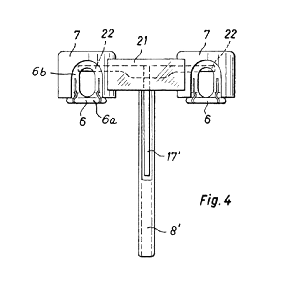
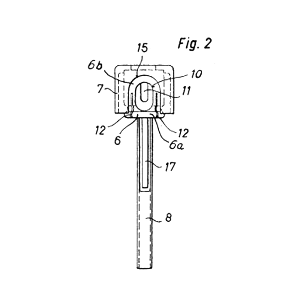
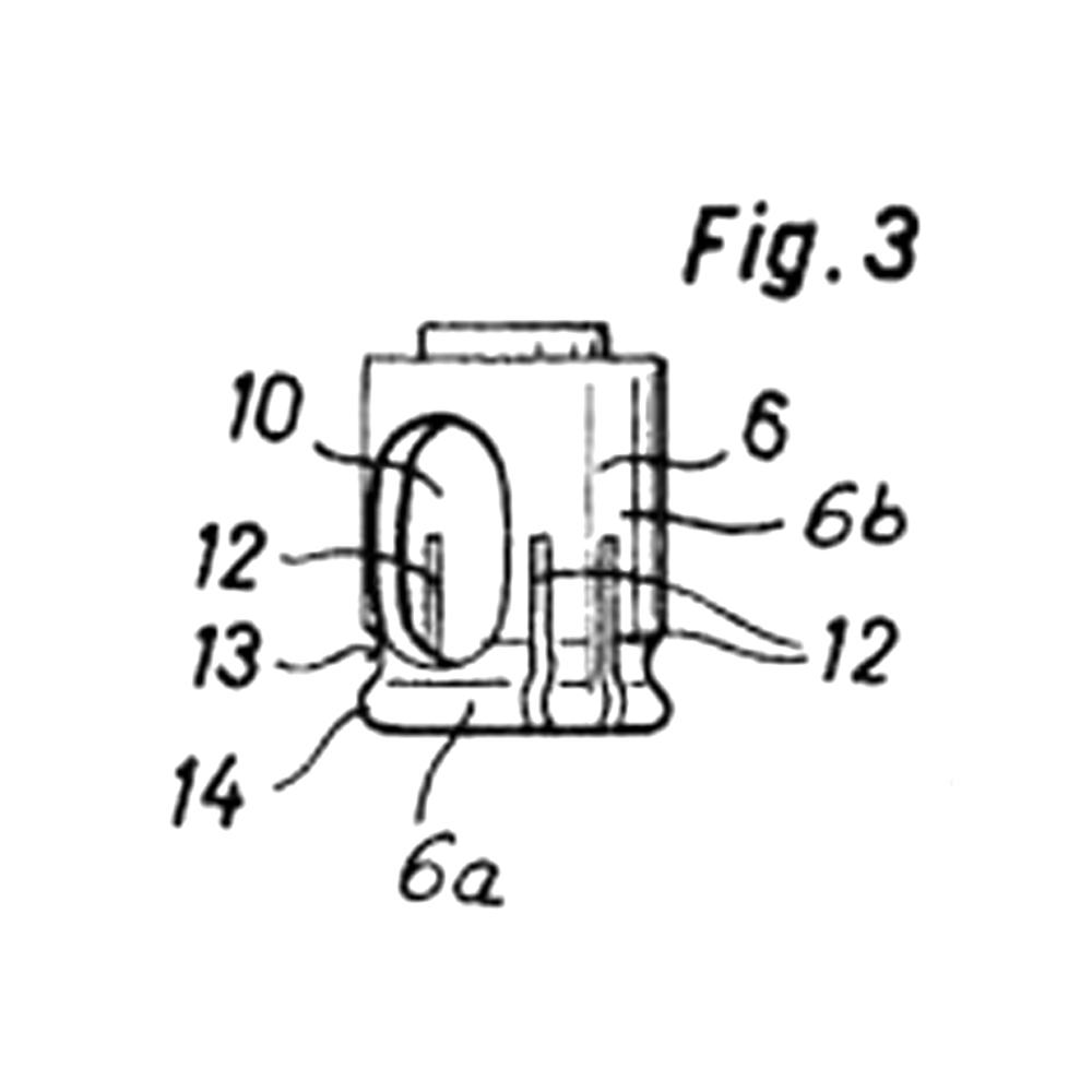
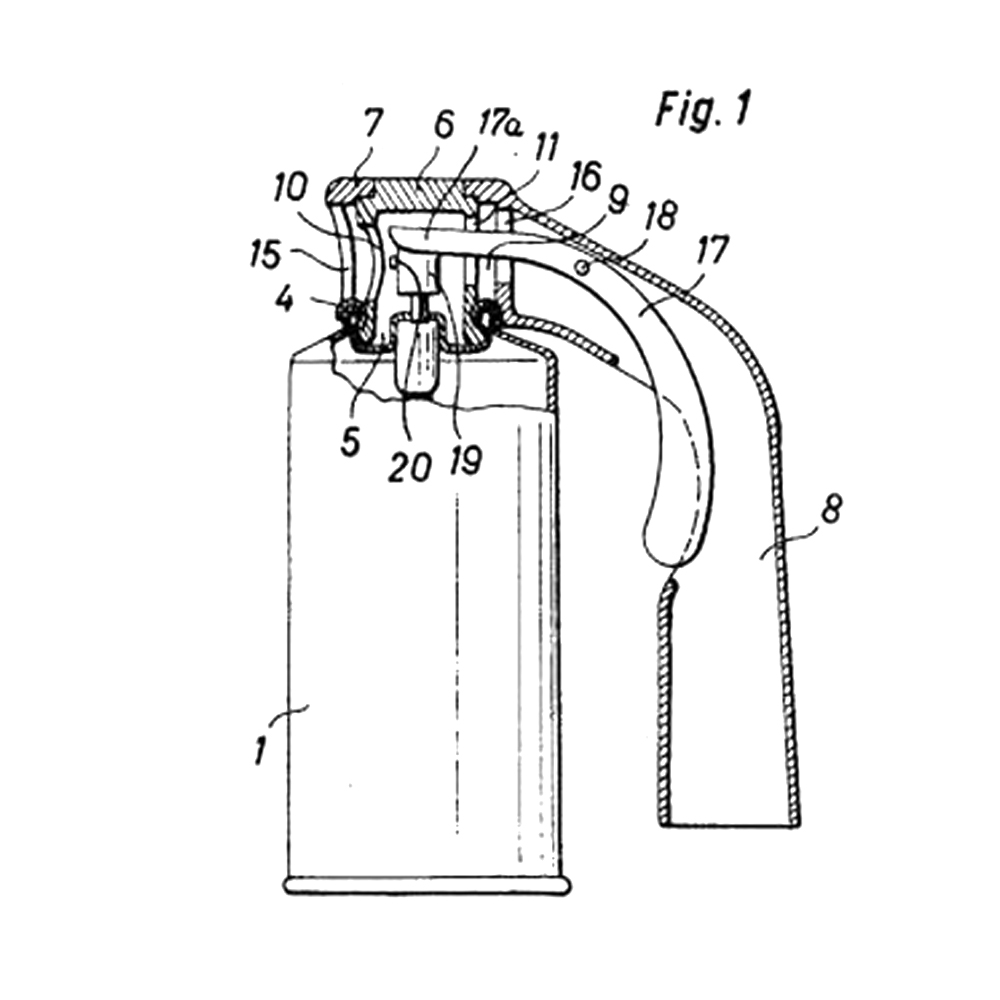
holder for aerosol spray can


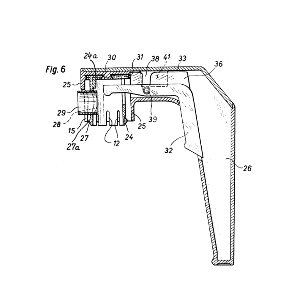
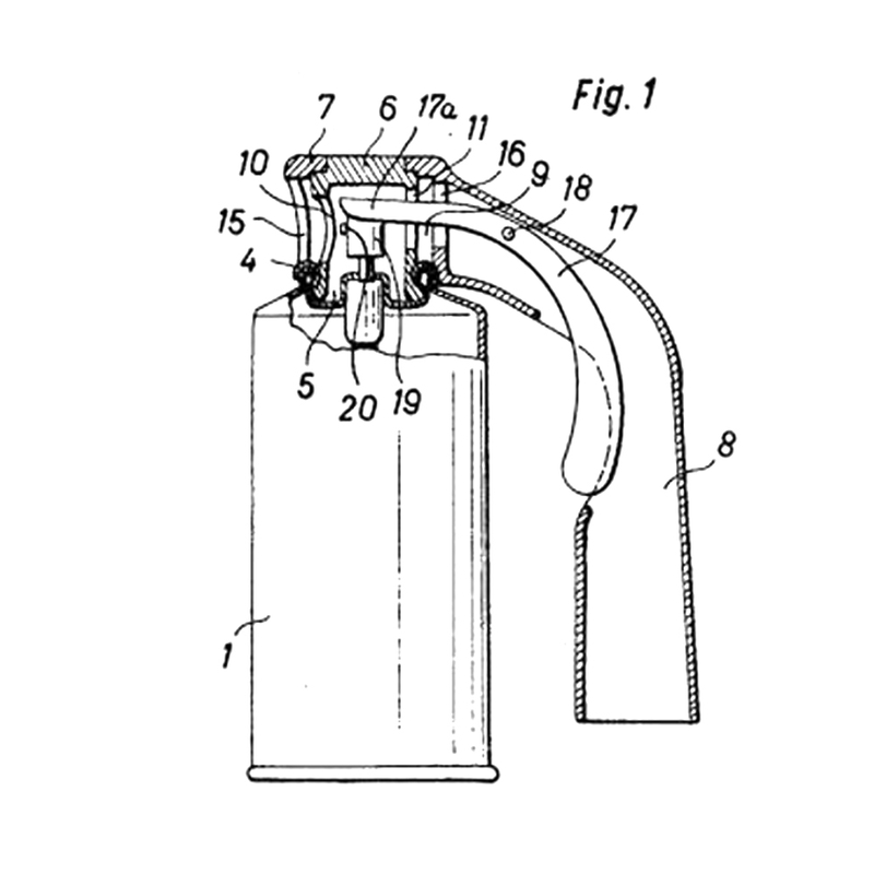
 A holder or handle for spray cans and the like of the type incorporating a handgrip and an actuation lever
which is movable with regard to the handgrip. The hand grip is capable of being detachably connected to the upper collar or neck bead portion of the spray can and the actuation lever is designed to bear upon the plunger or push button of the spray can. According to the product, there is provided at least one hood member having a lower edge or marginal portion which can be clampingly secured to the collar or annular neck bead of the spray can. This hood member has an opening for the efflux of the spraying jet, and furthermore, such hood member cannot be moved relative to the handgrip, and the opening of the hood member is disposed at the side opposite the handgrip.
Spray Can Grip 5 Spray Can Grip 6 Spray Can Grip 7 Spray Can Grip 8


Previous: 
Next: 

Related Products

IF YOU HAVE ANY QUESTIONS PLEASE CONTACT US !

Builders Choice Tools Limited

Market orientation, customer satisfaction, and quality assurance.To build better together.
View More >

Quick Links

Call Us

 86-571-88213761
 86-13429626426
 sales@builderschoicetools.com
 No.168,Jian Ding Road,Jiang Gan District,Hangzhou,Zhejiang, China
 
​Copyright © Builders Choice Tools Limited. All Rights Reserved.